• Aktuell
  • Unternehmen
    • Geschichte
    • Team
    • Ausstellung
    • Stellenangebote
    • Standort
  • Produkte
    • Haustechnik
    • Elektroschränke
    • Kompakt-Kanal
    • Türfronten
    • Profile, Schienen
  • Referenzen
  • Downloads
  • Haustechnik
  • Elektroschränke
  • Kompakt-Kanal
  • Türfronten
  • Profile, Schienen

Zubehör

  • Schienen
  • Profile
  • Zubehör
 

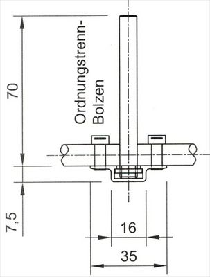
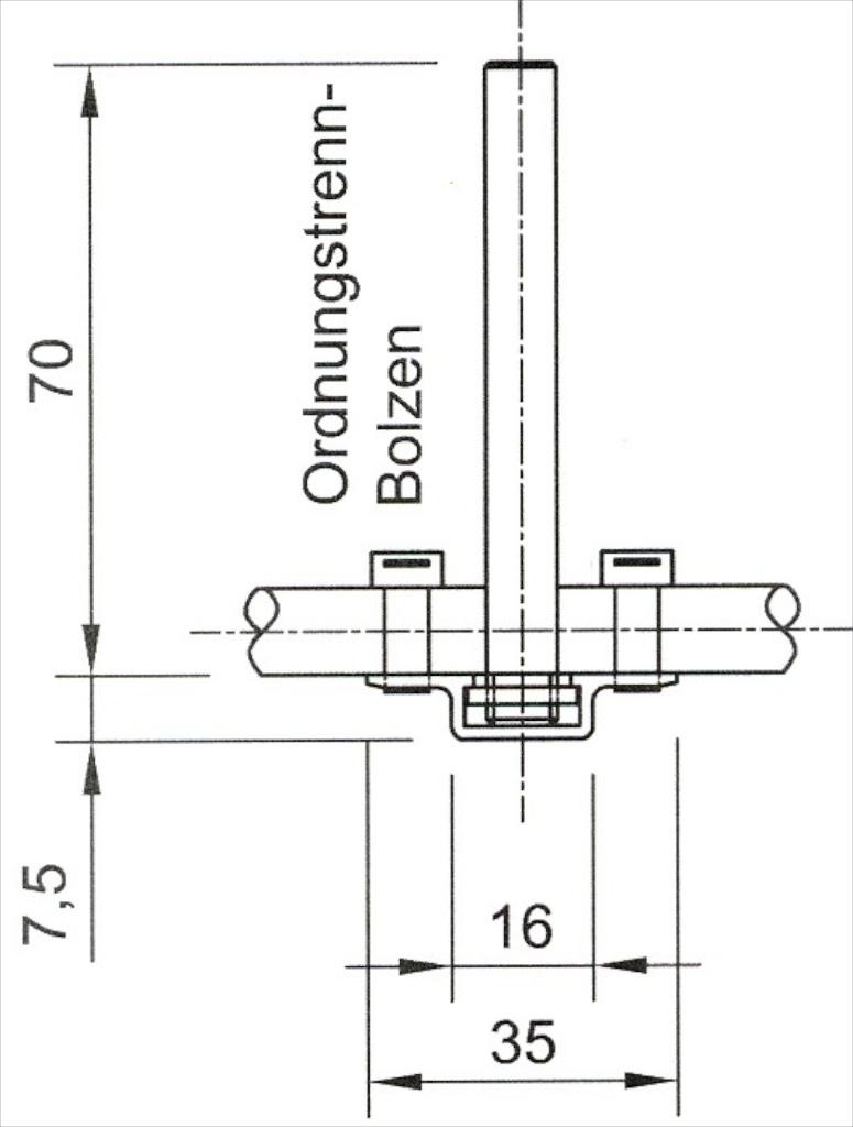
Auf eine einfache Art werden die Ordnungstrennbolzen mit Gleitmuttern an der Schiene fixiert.

  • Bilder

Ordnungstrennbolzen mit M8 Gewinde

Gleitmuttern M4 und M8

Gleitmuttern mit Ordnungstrennbolzen

Ordnungstrennbolzen für Kombischiene mit M8 Gleitmutter

Ordnungstrennbolzen für Trag- und Bindeschiene mit M8 Gleitmutter

Kontakt

Galip
Installationssysteme AG

Widenstrasse 1
9464 Rüthi (SG)

Tel. 081 750 00 80 
Fax 081 750 00 81

E-Mail

GALIP Unternehmensfilm

VKF-Anerkennung Nr. 32242

245 Wohnungen mit Galip-Elektrosteigzone, WÜB Bühlwisen, Dübendorf

Einladung

Besuch in unserer Ausstellung.

↓ Einladung herunterladen

Grosse Zeitersparnis durch freistehende Galip-Haustechnikgerüste

© Copyright 2025: Galip AG
Impressum | Sitemap
Gestaltung und Konzept: PK Grafik und Ton